-

機械手優缺點,可重復性高但作用范圍小
點擊量:6079
目前,在機床行業中,機械手已經越來越普遍,相信大家在今年的各大機床展上都可以見到機械手的身影。那么,機械手能被如此廣泛地應用到各種機床中,它的優缺點你們知道嗎?08
2021-04 -

小型機械手臂,應用非常廣泛的自動化機械裝置
點擊量:1466
你們了解過小型機械手臂嗎?它是目前機器人領域中應用非常廣泛的自動化機械裝置,現在在許多行業中都能看見,感興趣的話就隨我們一起來了解下吧。03
2021-03 -

哪里有機械手,哪有賣機械手
點擊量:939
機械手是工業自動控制領域中經常用到的一種能夠自動抓取、操作的裝置,多用于自動生產線、自動機的上下料、數控設備的自動換刀裝置等。23
2021-02 -

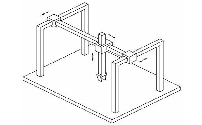
坐標式機械手,工業機器人自動化應用之一
點擊量:1464
工業機器人用于工業自動化應用中,例如多關節機器人,坐標式機械手,SCARA機器人,圓柱形機器人等,并且還有許多其他類型的機器人配置。本文主要介紹的是坐標式機械手。29
2020-10 -

機械手整機調試,夾爪可實現最佳定位
點擊量:1683
機械手在不同行業的各種制造設備的自動化中發揮了巨大的作用。高速機械手臂可以在短時間內完成繁瑣而重復的任務,提高企業的日常生產能力。20
2020-10